|
|
| |
- DIN ISO 9655
- ◆ 精密钳子适用于需要超精细装配工作的岗位,如电子元件及精细机械装配
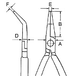
- ◆ 适于夹持和弯曲
- ◆ 精密套筒箱式接合
- ◆ 钳口表面磨光处理
- ◆ 低磨擦双弹簧设计---易于平衡、开合
- ◆ 抛光或镜面抛光工艺与油膜镀层技术的科学接合,提供了的防锈效果,防止因镀铬
表面脱落造成电路的故障

型1:扁平,矩形嘴

型1:扁平,矩形嘴

型2:半圆嘴

型2:半圆嘴

型3:圆形尖嘴

型3:圆形尖嘴

型4:45°半圆弯嘴

型5:长梯形扁嘴

型6:半圆长嘴

型7:圆形长嘴

型8:45°长半圆弯嘴
 
| 货号 |
长度 |
型式 |
剪切能力 |
重量 |
|
mm |
|
B
mm |
A
mm |
D
mm |
E
mm |
F
mm |
g |
| 35 11 115 |
115 |
型1 |
22.5 |
9.5 |
6.5 |
2.0 |
4.0 |
60 |
| 35 12 115 |
115 |
型1 |
22.5 |
9.5 |
6.5 |
2.0 |
4.0 |
75 |
| 35 21 115 |
115 |
型2 |
22.5 |
9.5 |
6.5 |
2.0 |
1.5 |
55 |
| 35 22 115 |
115 |
型3 |
22.5 |
9.5 |
6.5 |
2.0 |
1.5 |
70 |
| 35 31 115 |
115 |
型3 |
22.5 |
9.5 |
6.5 |
2.0 |
1.5 |
50 |
| 35 32 115 |
115 |
型3 |
22.5 |
9.5 |
6.5 |
2.0 |
1.5 |
70 |
| 35 42 115 |
115 |
型4 |
22.5 |
9.5 |
6.5 |
2.0 |
1.0 |
75 |
| 35 52 145 |
145 |
型5 |
40.0 |
12.0 |
7.5 |
1.5 |
4.0 |
105 |
| 35 62 145 |
145 |
型6 |
40.0 |
12.0 |
7.5 |
2.5 |
1.5 |
95 |
| 35 72 145 |
145 |
型7 |
40.0 |
12.0 |
7.5 |
2.5 |
1.3 |
90 |
| 35 82 145 |
145 |
型8 |
35.0 |
12.0 |
7.5 |
2.5 |
1.0 |
95 |
|
|