|
|
- ◆ 精密钳子适用于需要超精细装配工作的岗位,如电子元件及精细机械装配适于夹持和弯曲防静电型
- ◆ 精密箱式接合钳口表面磨光处理低磨擦双弹簧设计,易于平衡、开合抛光工艺与油膜镀层技术的科
学接合,提供了的防锈效果,防止因镀铬表面脱落造成电路的故障双色双重材料手柄(黑/灰)
- ◆ 采用特殊的工具钢制成,经特殊淬火和退火处理

型1:矩形扁嘴

型2:半圆嘴

型3:圆形尖嘴

型4:45°半圆弯嘴
 
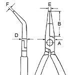
货号 |
长度 |
型式 |
剪切能力 |
重量 |
|
mm |
|
B
mm |
A
mm |
D
mm |
E
mm |
F
mm |
g |
35 12 115 ESD |
115 |
型1 |
22.5 |
9.5 |
6.5 |
2.0 |
4.0 |
75 |
35 22 115 ESD |
115 |
型2 |
22.5 |
9.5 |
6.5 |
2.0 |
1.5 |
70 |
35 32 115 ESD |
115 |
型3 |
22.5 |
9.5 |
6.5 |
2.0 |
1.0 |
60 |
35 42 115 ESD |
115 |
型4 |
22.5 |
9.5 |
6.5 |
2.0 |
1.5 |
75 |
|
|